Using MRI to Study Granular Structure and Flow

Using appropriate oil-filled beads we are able to use liquid-phase MRI to detect locations as well as quantitative flow characteristics of granular materials.







MRI to Study Stationary Granular Materials Internal Structure


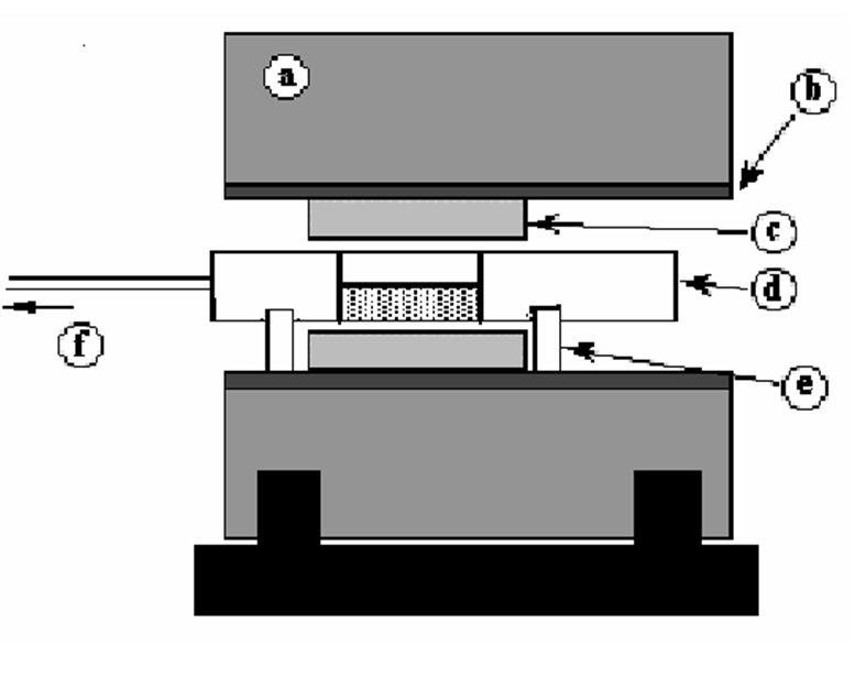
We use a 1.9 T superconducting horizontal bore magnet and a typical MRI pulse sequence. A cylinder is placed lengthwise into the magnet bore and then the location of the MRI sensitive fluid-filled particles can be imaged. Some of the important features of our system are shown in the image on the left: (a) superconducting magnet, (b) gradient coils, (c) radio frequency probe, (d) cylinder, (e) supportive rollers, (f) long driving shaft which is connected to a motor placed far enough away so as not to be affected by the strong magnetic field. This type of imaging is very useful for seeing subsurface structure, for example, of segregating biparticulate systems.








MRI to Study Velocity Field of Flowing Granular Materials, Using the Phase Encoding of Velocities


Using appropriate velocity encoding gradients motion dependent phase changes can be used to measure average velocity:

Δ φ = ∫ ω(t)dt = γ ∫ B(t)dt = γ ∫ Gx(t) x(t)dt

Δ φ = -γ Gx ∫(x0+vt)dt = -Gx(x0δ + 1/2 v δ2)

(1)   Δφ = γGxδ2v

γ = gyromagnetic ratio, Gx = gradient amplitude, δ = gradient duration, and v = velocity

Moving spins experience a linear velocity-dependant phase change.

In other words, the intensity at a given point in our images, after the appropriate transformation, reflects the phase change at that point. We can then can use Eq. (1) to determine the velocities at every point wihtin the system.






Magnetic Resonance Elastography (MRE) to Study the Internal 3D Force Chain Structure in a Quasi-Staic Granular Assembly


New Mexico Resonnace has developed a novel MRE technique to image force chains fully in 3D for the first time. For more information please click here.




REFERENCES:
Altobelli, S.A., Caprihan, A., Fukushima, E., Seymour, J.D. Nuclear magnetic resonance studies of granular flows - Current status (2000) Materials Research Society Symposium - Proceedings, 627, pp. BB211-BB2110.

Fukushima, E. Nuclear magnetic resonance as a tool to study flow (1999) Annual Review of Fluid Mechanics, 31, pp. 95-123.

Yamane, K., Nakagawa, M., Altobelli, S.A., Tanaka, T., Tsuji, Y. Steady particulate flows in a horizontal rotating cylinder (1998) Physics of Fluids, 10 (6), pp. 1419-1427.

Altobelli, Stephen Allen, Caprihan, Arvind, Fukushima, Eiichi Nuclear magnetic resonance as a versatile technique to measure flow parameters (1997) American Society of Mechanical Engineers, Fluids Engineering Division (Publication) FED, 5.

Nakagawa, M., Altobelli, S.A., Caprihan, A., Fukushima, E., Jeong, E.-K. Non-invasive measurements of granular flows by magnetic resonance imaging (1993) Experiments in Fluids, 16 (1), pp. 54-60.

Nakagawa, M., Jeong, E.K. Application of NMR to rotating granular flow (1992) Proceedings of Engineering Mechanics, pp. 644-647.

Nakagawa, Masami, Caprihan, Arvind, Fukushima, Eiichi MRI of granular flows in a rotating cylinder (1992) American Society of Mechanical Engineers, Fluids Engineering Division (Publication) FED, 135, pp. 23-27.
This work was funded, in part, by USDOE, Pittsburgh Energy Technology Center via Contract #DE-AC22-90PC90184.



Last Updated: 11:40 AM 5/14/2008